Please wait, while we are loading the content...
Please wait, while we are loading the content...
| Content Provider | frontiers |
|---|---|
| Author | Lep, Žan Trunk, Aleš Babnik, Katarina |
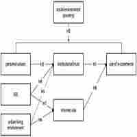
| Abstract | Internet usage data from around the globe show that adolescents are the most frequent internet users, but mostly for leisure activities and maintaining social contacts. In the present study, we focused on internet use for e-services, which could improve youth efficiency in the financial domain (responsible consumer behaviour) and bridge the online divide in youth. Specifically, we explored how societal constructs (namely institutional trust and personal values) influence the use of the internet for online shopping, e-banking and communication with providers of goods and services online. We used a representative sample of adolescents (N = 10.902) from 10 countries of Southeast Europe where a great variability in internet use is present, and where the use of e-services is generally lower than the EU average. This also allowed for meaningful cross-country comparisons. We tested a structural equation model of values predicting the use of the internet through institutional trust (including some relevant demographic variables such as settlement size, SES, internet use frequency) which was grounded in social capital theory, cultural theory, and Schwartz human values model. The model exhibited a good fit to the data but the strengths of regressional paths were rather modest. Looking into the cross-country stability of the model, however, revealed some notable differences: while the relationship between trust and use of the internet for e-services was modest in some countries, the relationship was insignificant in other countries, where internet usage is lower in general. This suggests that strategies aimed at leveraging e-services and digital technology potential in youth should also account for cultural specificities in the transitional economies and cultural settings with sub-optimal adoption of digital services. |
| ISSN | 16641078 |
| DOI | 10.3389/fpsyg.2022.887587 |
| Volume Number | 13 |
| Journal | Frontiers in Psychology |
| Language | English |
| Publisher Date | 2022-05-16 |
| Access Restriction | Open |
| Subject Keyword | Institutional trust Individual values Youth E-services utilization Cultural values Internet use Southeastern europe |
| Content Type | Text |
| Resource Type | Article |
| Subject | Psychology |
National Digital Library of India (NDLI) is a virtual repository of learning resources which is not just a repository with search/browse facilities but provides a host of services for the learner community. It is sponsored and mentored by Ministry of Education, Government of India, through its National Mission on Education through Information and Communication Technology (NMEICT). Filtered and federated searching is employed to facilitate focused searching so that learners can find the right resource with least effort and in minimum time. NDLI provides user group-specific services such as Examination Preparatory for School and College students and job aspirants. Services for Researchers and general learners are also provided. NDLI is designed to hold content of any language and provides interface support for 10 most widely used Indian languages. It is built to provide support for all academic levels including researchers and life-long learners, all disciplines, all popular forms of access devices and differently-abled learners. It is designed to enable people to learn and prepare from best practices from all over the world and to facilitate researchers to perform inter-linked exploration from multiple sources. It is developed, operated and maintained from Indian Institute of Technology Kharagpur.
Learn more about this project from here.
NDLI is a conglomeration of freely available or institutionally contributed or donated or publisher managed contents. Almost all these contents are hosted and accessed from respective sources. The responsibility for authenticity, relevance, completeness, accuracy, reliability and suitability of these contents rests with the respective organization and NDLI has no responsibility or liability for these. Every effort is made to keep the NDLI portal up and running smoothly unless there are some unavoidable technical issues.
Ministry of Education, through its National Mission on Education through Information and Communication Technology (NMEICT), has sponsored and funded the National Digital Library of India (NDLI) project.
| Sl. | Authority | Responsibilities | Communication Details |
|---|---|---|---|
| 1 | Ministry of Education (GoI), Department of Higher Education |
Sanctioning Authority | https://www.education.gov.in/ict-initiatives |
| 2 | Indian Institute of Technology Kharagpur | Host Institute of the Project: The host institute of the project is responsible for providing infrastructure support and hosting the project | https://www.iitkgp.ac.in |
| 3 | National Digital Library of India Office, Indian Institute of Technology Kharagpur | The administrative and infrastructural headquarters of the project | Dr. B. Sutradhar bsutra@ndl.gov.in |
| 4 | Project PI / Joint PI | Principal Investigator and Joint Principal Investigators of the project |
Dr. B. Sutradhar bsutra@ndl.gov.in Prof. Saswat Chakrabarti will be added soon |
| 5 | Website/Portal (Helpdesk) | Queries regarding NDLI and its services | support@ndl.gov.in |
| 6 | Contents and Copyright Issues | Queries related to content curation and copyright issues | content@ndl.gov.in |
| 7 | National Digital Library of India Club (NDLI Club) | Queries related to NDLI Club formation, support, user awareness program, seminar/symposium, collaboration, social media, promotion, and outreach | clubsupport@ndl.gov.in |
| 8 | Digital Preservation Centre (DPC) | Assistance with digitizing and archiving copyright-free printed books | dpc@ndl.gov.in |
| 9 | IDR Setup or Support | Queries related to establishment and support of Institutional Digital Repository (IDR) and IDR workshops | idr@ndl.gov.in |
|
Loading...
|